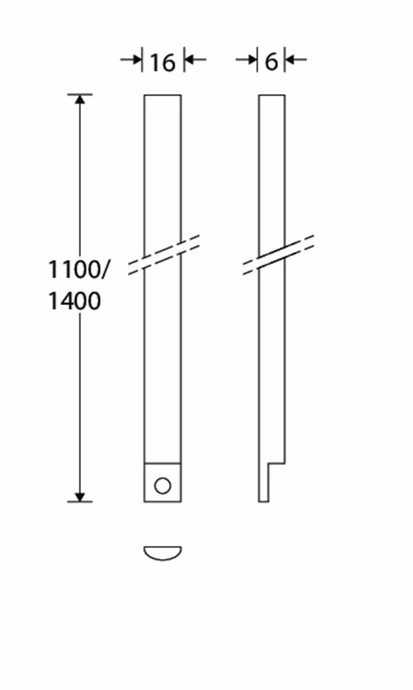
Espagnolet toebehoren

/
/
/
/
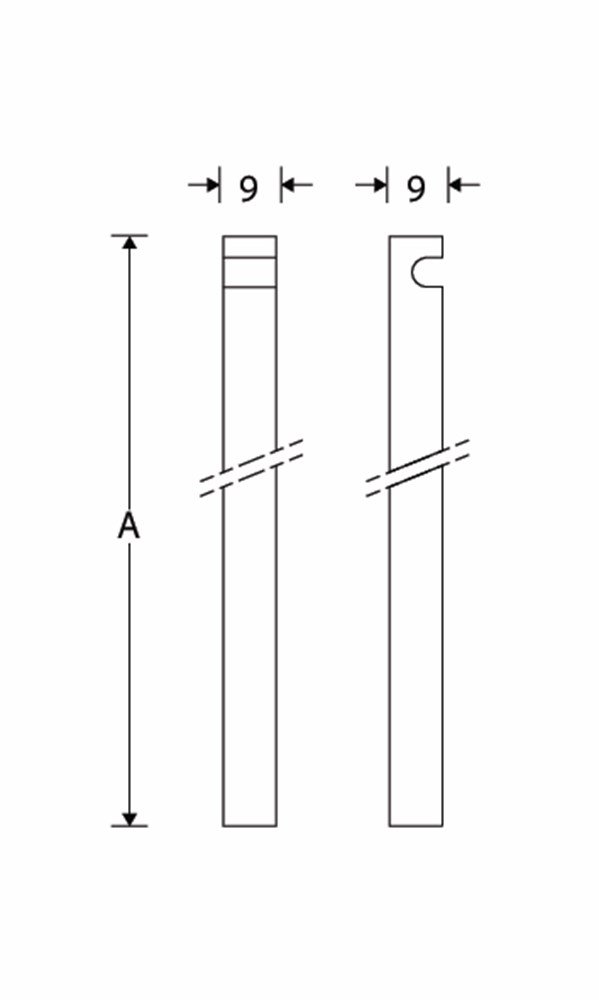
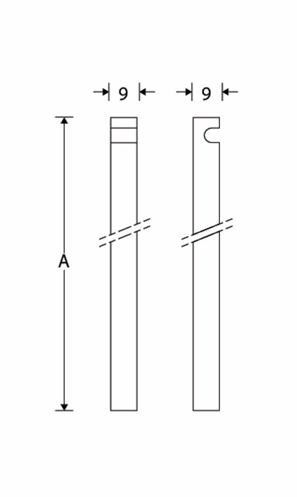
Espagnolet toebehoren

    Start typing and press Enter to search

    Shopping Cart

    Geen producten in de winkelwagen.